微信扫二维码
添加大业资深项目经理
了解更多合作

  • 朱先生
    13923192702
  • 李先生
    15920424041
DAYE NEWS
content

话说自从第一辆汽车上路以来,已经100多年过去了,但是,作为其主要控件的方向盘,造型设计却没有太大的改变。


可随着科技的日益发展,各种事物都在不断创新,汽车的方向盘也不例外,总有一些人要打破常规设计


比如特斯拉Model S改款之后,就安装了一个类似飞机操纵杆一样的方向盘。



还有现代汽车也展示过一种带屏幕的方向盘,将仪表盘显示在上面。





以及,通用汽车设计工作室也曾在其官方Instagram上发布过一个全新的方向盘概念设计,灵感就来源于掌上游戏机。



而还是应了那句老话:山外有山,人外有人。


这些设计要在宝马这款方向盘面前,就显得还有些保守了。



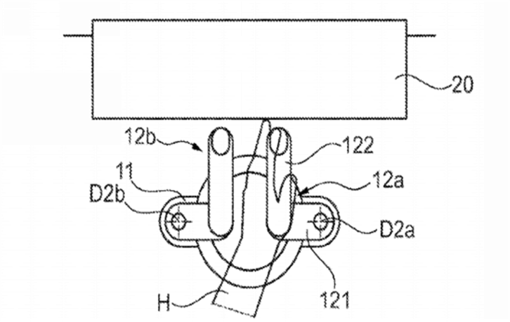
这是宝马曝光的一个最新的专利设计,显示其正在开发一种叫做“转向手柄”的控件来代替传统的方向盘。


对称设计有两个手柄,分别供你的左右手掌握。同时,在每一个手柄上端还有一个小的触控屏幕,上面设置有常用的快捷按键。




看起来就是一个水平操纵杆,抬起左手向右转,反之则向左转。



只不过,两个把手旋转时会始终保持垂直定位,主水平辐条围绕中心轴旋转,也就是说在原理上类似于普通方向盘的动作。




当其旋转到180度时,两个手柄就会变成下面这个样子,几乎靠在一起。




然后随着旋转角度加大,两个手柄又会展开。




除此之外,如果在选择自动驾驶模式的时候,两个手柄还可自动向内折叠,让驾驶座的空间更宽敞。



值得一提的是,这也不是宝马第一次重新设计方向盘,在早些时候,他们还展示过一种可折叠的方向盘。在路况相对较好的情况下,你可把方向盘的下端折叠起来,这样就能获得更大的腿部空间。





可与之相比,创新君觉得最新的这个“转向手柄”更具有颠覆性。但是短时间内我们不会在宝马车上看到,也许当宝马的 i Vision Circular 概念车量产时,它能够标配上这个手柄。



不过它虽然看起来很炫酷,但是要实际操作估计还需要熟练后才能得心应手。


Motivated by
industrial design desire
as always!

工业设计冲动驱使我们一直向前!

中国十佳工业设计公司
中国十大影响力设计机构
中国十大设计杰出青年单位
中国工业设计AAA信用企业
国家高新技术企业
省级工业设计中心